Zum Hauptinhalt springen Zur Suche springen Zur Hauptnavigation springen
Menü

Beschreibung

Grünbeck Feinfilter BOXER KDX 1'' DN 25 mit Druckminderer 101820

Feinfilter BOXER KDX DN 25

  • für den Einbau unmittelbar nach der Wasserzähleranlage
  • zum Schutz der Hausinstallation entspricht DIN EN 806-2 DVGW
  • Kerzenfilter entspricht DIN EN 13443-1, 19628
  • Verschmutzungsgrad durch transparente Filterglocke jederzeit von außen optisch feststellbar

Bestehend aus:

  • Anschlussflansch aus entzinkungsarmem Messing für waagrechten und senkrechten Einbau
  • einschließlich Wasserzählerverschraubung
  • Filterkopf aus hochfestem, strömungstechnisch geformtem, technischem Kunststoff
  • integrierter 12-teiliger Datumsanzeige für Wartung entspricht DIN EN 806-5
  • transparent-blauer Filterglocke, gegen übliche Haushaltsreiniger beständig
  • Zum Kerzenwechsel leichtgängig
  • ohne Werkzeug zu öffnen
  • Druckminderer 1-6 bar stufenlos einstellbar
  • Ausgangsdruckanzeige im Filterkopf stoßsicher eingebettet
  • Filtereinsatz mit Kunststoffgewebe

Technische Daten:

  • Anschlussnennweite: DN 25
  • Anschlussgröße: 1"
  • Nenndurchfluss entspricht DIN EN 1567: 3,6 cbm/h
  • Anfangsdruckverlust: 0,2 bar
  • Nenndruck: PN 16 bei 30 Grad C
  • Durchlassweite: 100 µm

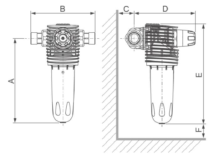
Abmessungen:

  • (A) Bauhöhe bis Mitte Anschluss: 240 mm
  • (B) Einbaulänge mit/ohne Verschraubung: 182/100 mm
  • (C) Wandabstand min: 60 mm
  • (D) Bautiefe bis Mitte Anschluss: 165 mm
  • (E) Gesamthöhe: 280 mm
  • (F) Ausbauhöhe Filterkerze: > 150 mm
  • Hersteller: Grünbeck Wasseraufbereitung GmbH
  • Artikelnummer: 101820

Eigenschaften

Serie: Boxer KDX
Produktart: Feinfilter
Abmessung (DN): DN 25
Abmessung (Zoll): 1"
Baulänge: 182 mm
Produktsicherheit
Angaben zur Produktsicherheit:

Hersteller
Grünbeck Wasseraufbereitung GmbH

Adresse
Josef-Grünbeck-Straße 1
89420 Höchstädt
Deutschland

E-Mail
info@gruenbeck.de

Eigenschaften

Serie: Boxer KDX
Produktart: Feinfilter
Abmessung (DN): DN 25
Abmessung (Zoll): 1"
Baulänge: 182 mm
Produktgalerie überspringen

Kunden kauften auch

CONEL Connect MV2 Übergang 26 mm x 1'' IG CCMVU2625IN - Bild 1
Art.-Nr. CCMVU2625IN
CONEL Connect MV2 Übergang 26 mm x 1'' IG CCMVU2625IN

Auf Lager
Lieferzeit: 3-5 Werktage

Regulärer Preis: 18,10 €
CONEL Connect MV2 Übergang 26 mm x 1'' AG CCMVU2625AN - Bild 1
Art.-Nr. CCMVU2625AN
CONEL Connect MV2 Übergang 26 mm x 1'' AG CCMVU2625AN

Auf Lager
Lieferzeit: 3-5 Werktage

Regulärer Preis: 17,50 €
CONEL Connect MV2 Ersatzpresshülse 26 mm CCMVEP26N - Bild 1
Art.-Nr. CCMVEP26N
CONEL Connect MV2 Ersatzpresshülse 26 mm CCMVEP26N

Auf Lager
Lieferzeit: 3-5 Werktage

Regulärer Preis: 6,90 €
CONEL Connect MV2 Wandwinkel kurz 20 mm x 1/2'' IG 90 Grad CCMVWW20KN - Bild 1
Art.-Nr. CCMVWW20KN
CONEL Connect MV2 Wandwinkel kurz 20 mm x 1/2'' IG 90 Grad CCMVWW20KN

Auf Lager
Lieferzeit: 3-5 Werktage

Regulärer Preis: 17,50 €
CONEL Connect MV2 Reduktion 20x16 mm CCMVR2016N - Bild 1
Art.-Nr. CCMVR2016N
CONEL Connect MV2 Reduktion 20x16 mm CCMVR2016N

Auf Lager
Lieferzeit: 3-5 Werktage

Regulärer Preis: 9,30 €
CONEL Connect MV2 Winkel 90 Grad 26 mm CCMVW26N - Bild 1
Art.-Nr. CCMVW26N
CONEL Connect MV2 Winkel 90 Grad 26 mm CCMVW26N

Auf Lager
Lieferzeit: 3-5 Werktage

Regulärer Preis: 16,70 €
Produktgalerie überspringen

Kunden haben sich ebenfalls angesehen

CONEL Connect MV2 Winkel 90 Grad 16 mm CCMVW16N - Bild 1
Art.-Nr. CCMVW16N
CONEL Connect MV2 Winkel 90 Grad 16 mm CCMVW16N

Auf Lager
Lieferzeit: 3-5 Werktage

Regulärer Preis: 8,60 €